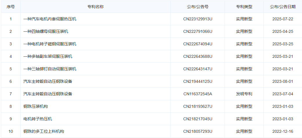
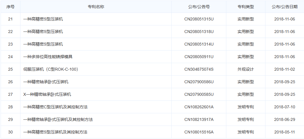
在智能制造升级浪潮下,广东若克伺服压力机厂家凭借硬核技术与稳定品质,成为精密压装领域的优选品牌。作为深耕伺服装备研发制造的广东本土企业,若克以30+项专利为核心支撑,打造高精度、高效率、高可靠性的伺服压力机产品,赋能汽车、电子、新能源、五金等行业提质增效。

技术创新是若克的核心竞争力。依托自主研发体系,公司累计获得30余项发明与实用新型专利,覆盖伺服控制算法、精密传动结构、智能监测系统等关键领域。设备采用压力、位移、速度三闭环控制,位移重复定位精度达0.001mm,压力控制精度±0.5%FS,实现微米级稳定压装,彻底解决传统设备精度不足、一致性差的痛点。

若克伺服压力机兼具节能与耐用优势。搭载高效伺服电机,能量转化效率超 90%,较传统液压机节能 30% 以上,低噪音、无泄漏,契合绿色生产标准。机架采用整体铸造与模块化设计,抗侧压、耐震动,故障率低、维护便捷,可适配冲裁、成型、压装、铆接等多工艺场景,满足多品种、小批量柔性生产需求。

设备搭载高频数据采集与MES对接功能,实时生成压力—位移曲线,支持工艺配方存储与全流程数据追溯,将产品报废率控制在 0.5% 以下,助力企业实现数字化质量管理。从微型电子元件压装到汽车零部件成型,若克伺服压力机以稳定性能覆盖多元应用场景,通过 ISO 质量体系认证,核心部件选用国际知名品牌,品质对标进口设备。
